Благодаря новому патенту Amazon, будущее, в котором нам никогда не придется покидать уют собственного дома, все ближе и ближе. А если поточнее: Amazon запатентовали кибер-зеркало, которое, гипотетически, позволит покупателям примерять одежду из онлайн-магазинов, не выходя из дома.
Согласно заявлению, патент был зарегистрирован 2 января 2018 года, а создателями этого чуда-зеркала, ломающего границы реальности, являются три уроженца США – Чарльз Дорнер, Пол Сайер III и Уильям Хазелвуд. Теоретически, это изобретение позволит покупателям примерить любой наряд, лежа на диване и поедая чипсы.
Это зеркало может быть победным ходом онлайн-шопинга в игре против реальных, физических магазинов. Судя по многочисленным опросам, решающим фактором при выборе между онлайн или живым шопингом было и есть отсутствие возможности «пообщаться» с продуктом. И пусть с зеркалом вы не сможете оценить качество хлопка или как он чувствуется на теле, но вы сможете увидеть подходит ли тот или иной предмет одежды вашей фигуре.
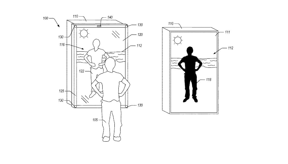
Вдохновениями для создания этого изобретения послужили телесуфлер, аттракционы в парках развлечений и эффект Призрака Пеппера. Для эффективной работы зеркало будет использовать камеры, прожекторы, экраны, зеркала и свет, которые во взаимодействии позволят клиентам любоваться своими нарядами, при этом не угнетая свою жизнь технологиями виртуальной реальности. Зеркало будет«создавать видение смешанной реальности, путем контролирования количества света, проходящего через зеркало и количество света, в нем отображающегося».
Чтобы достичь эффекта того, что пользователь сможет увидеть выбранный наряд на себе, изобретение будет «проектировать изображение за счет освещения отобранных пикселей и заглушения цветов других пикселей». И зеркало не только позволит пользователю примерить любой образ, но он или она смогут, выбирая покупки, отправиться в путешествие в любой уголок мира, используя возможность менять задний фон зеркала. Создатели объясняют функцию тем, что иногда вещи подбирают к специальному событию, и теперь, к примеру, любой желающий купить купальник может примерить его на фоне плескающегося моря.
Конечно же, вполне вероятно, что патент Amazon – это ни что иное, как пустые обещания. Все-таки у компании есть давняя традиция закупать громкие идеи, а потом никогда не приходить к их осуществлению, так было с дронами, теоретически способными заряжать электрические машины и с подводными заводами. Единственное же, что отличает именно эту идею от всех предыдущих, любопытно сходится по времени с одной крупной покупкой Amazon, обошедшейся компании в более чем 50 млн долларов, которую они сделали в октябре 2017. Тогда Amazon потратились на приобретение стартапа Body Labs, который занимается 3D-сканированием и моделированием тела. Совпадение? Вот и мы думаем, что нет. На ум также приходит и то, что в ранних версиях Алексы (прим. – персонального помощника от Amazon) была встроенная услуга с советами по моде и стилю. Все эти факты меньше и меньше кажутся случайным стечением обстоятельств, и все больше походят на намеренные шаги, которые Amazon делает для достижения конечной цели – полного и абсолютного верховенства онлайн-шопинга над шопингом реальным.